服務熱線
021-33617555
全國服務熱線:
021-33617555
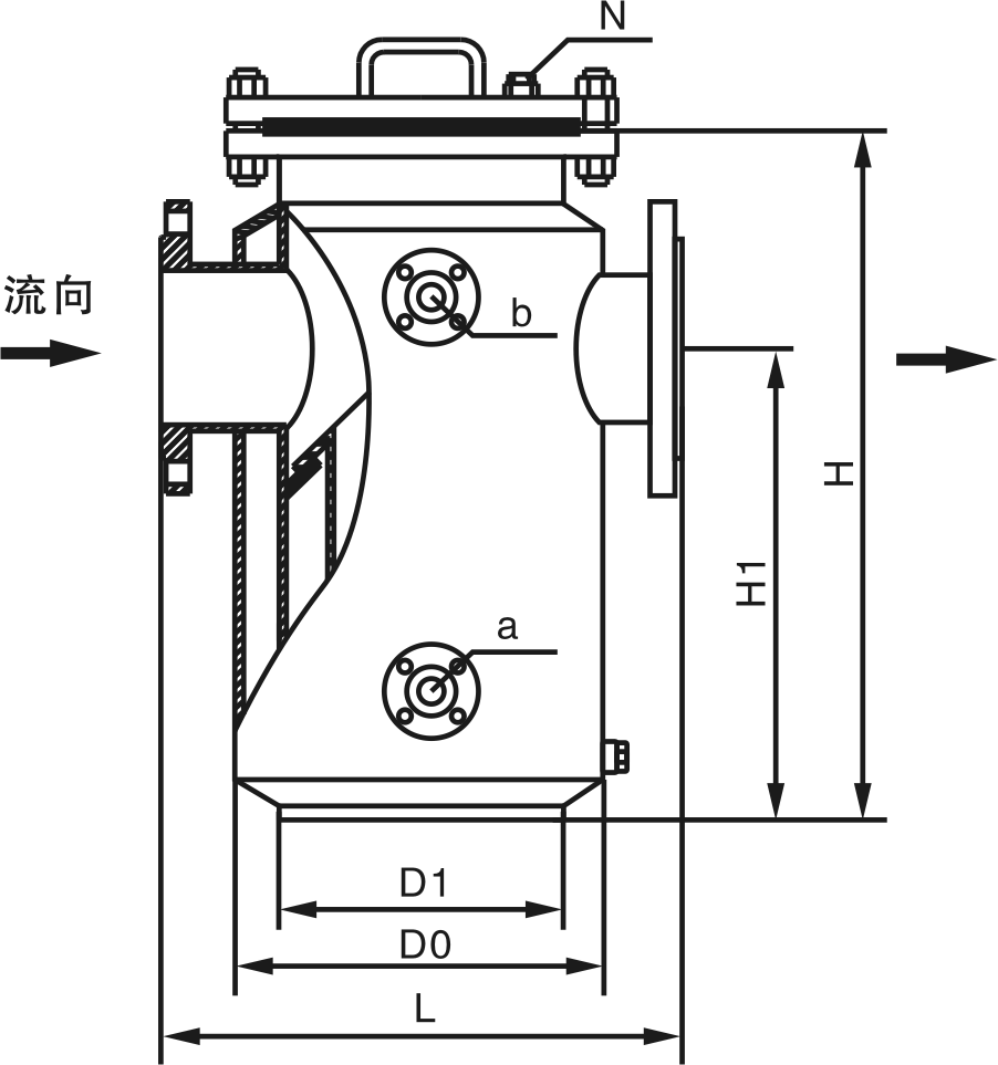
產品說明Product description
藍式過濾器是除去液體中少量固體顆粒的小型設備,主要由接管、主管濾藍、法蘭、法蘭蓋
及緊固件等組成。當流體進入置有一定規格濾網的濾筒后,其雜質被阻擋,而潔凈的流體通過濾藍、由過濾器出口排出。當需要清洗時,旋開主管底部螺塞,排凈流體,卸下法蘭蓋,清洗后重新裝入即可。因此,使用維護極為方便。首先經過粗濾網濾掉較大顆粒的雜質,然后到達細濾網。在過濾過程中,細濾網逐漸累積水中的贓物、雜質形成過濾雜質層,由于雜質層堆積在細濾網的內側,因此在細濾網的內、外兩側就形成了一個壓差。




